Главная страница      
  Техпром  
 
     
 
Клапан предохранительный сбросной КПС

Клапан предохранительный сбросной КПС предназначен для использования в газорегуляторных пунктах, имеющих в своём составе запорные клапана. Обеспечивают сброс газа в атмосферу с расходом не менее 0,5 м³/ч при повышении давления в сети сверх заданного значения более чем на 5%.

Наименование параметраКПС-НКПС-С
Рабочая средаПриродный газ по ГОСТ 5542-87Природный газ по ГОСТ 5542-87
Сжиженный газ по ГОСТ 29472-90
Максимальное рабочее давление на входе, кПа5,5400
Пределы настройки давления срабатывания Рср, кПа1,9–5,510–400
Расход через клапан, м³/ч, при перепаде давлений на нем ΔР: ΔР = 1,05Рср0,5
Диапазон рабочих температур, °С−40…+60
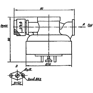
Диаметр условного прохода Ду, мм12
Габаритные размеры, мм, не более (длина×ширина×высота)95×81×12890×70×80
Присоединительные размеры, ммG 3/4-B, Фланцевое Дy=12
Масса, кг, не более0,5

Функциональная схема клапана КПС

Функциональная схема клапана КПС